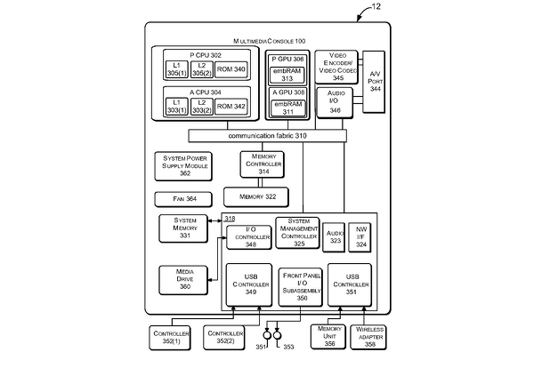
A patent application filed by Microsoft back in 2010 has just been discovered and points to the possibility that the next-gen Xbox will support a scalable hardware structure. The documents were first spotted by a member of the Beyond3D forum and dissected by Eurogamer. Based on the findings, it looks like Microsoft may be looking to create a hardware foundation that could then be customized to create models with varying performance capabilities.
While this could simply be part of their plan for releasing various SKUs of the next Xbox, the fact that they mention scalability "over time" would lead one to believe that they may be looking to make the console upgradable as the technology advances. It's also important to note that this patent is now 18 months old, so a lot could have changed since then. It also stands to reason that this is just a preemptive move motivated by legal reasons and the ideas here will never see the light of day.
What are your thoughts on a scalable console? Would this be a wise move for Microsoft? Let us know what you think in the comments below.
